(通讯员 杨力、王宗武)5月9日下午,计算机网络与信息安全国家级实验教学示范中心在南校区E楼III-212室召开“新实验开发与新实验设备研制项目”结题验收会。参加此次验收的是2019年立项的5个重点项目和2021年立项的12个项目。会议邀请了西安邮电大学IT实训中心主任曹小鹏教授、西安理工大学教务处副处长王学通高工、西安科技大学taptap竞彩足球副院长马天副教授、taptap官网taptap竞彩足球教学指导委员会付少锋副教授和王小兵副教授、计算机网络与信息安全国家级实验教学示范中心主任杨力教授等多名专家参与评审。

与会专家根据项目组提交的《taptap点点足彩新实验开发与新实验设备研制项目验收报告》,采取现场演示测试作品及PPT答辩的形式,从完成申报书任务情况、成果形式、实验实践效果及教学应用和技术指标等方面对项目进行了评审验收。
经过答辩及评审,所有项目均顺利通过验收或中期答辩,与会专家一致认为这批项目能够紧扣当前实验实践教学需求,项目能较好的应用拓展到教学中、完成度好,多个项目已经形成了较为成熟的实验教学产品,具备一定的推广价值。经专家们评审,一致推荐了以下三个优秀项目。
贾文老师主持的“基础实验中心资源共享系统的升级与开发”项目,确立了以“面向实际应用、界面友好、业务逻辑优良、架构先进、用户体验良好、采用学校统一身份登录”等指标体系为开发目标的设计宗旨。系统已正式上线、投入使用,运行良好、系统稳定,提升了工作效率,完全能满足现实需求,确保了基础实验教学中心业务的正常开展;适应了学校信息化建设,促进了实验室业务稳定实施,提升了基础教学实验中心服务教学水平和能力。


刘锦辉老师主持的“模电课堂教学实验平台开发”项目,项目组结合多年模电教学实践,通过设计集电源控制、波形发生、信号采集及可视化平台于一体的便携式教学演示系统,将模电课堂重要知识点以实物演示的方式进行展示,加深学生对知识点的理解,培养学生工程思维,同时提升学生分析和解决工程实践问题的能力。该项目为模拟电子技术课程理论教学提供了新思路,具有很好的示范和推广价值。


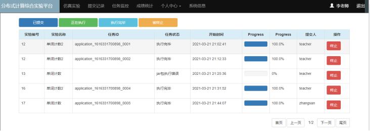
李龙海老师主持的“分布式计算课程综合实验平台”项目,设计并实现了一个能够支撑多人同时在线完成分布式数据处理实验的平台。学生可以将自己设计的分布式算法程序通过网络提交至系统,然后以多人共享方式利用平台的服务器集群资源运行程序并验证实验结果。平台还支持实验过程监控、实验结果自动评判和实验情况统计等功能,进一步减轻了指导教师的工作量。该平台在taptap官网本科生分布式计算课程的部分班级进行了试用,取得了良好的教学效果。



最后,杨力教授代表实验教学中心对各位评审专家的工作给予感谢,并与各位专家就近年来实践教学改革的发展动态与趋势进行了交流与讨论,充分肯定了各位老师认真积极参与新实验开发与新设备研制项目及取得的成果和应用。